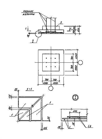
ФМ 21

Чертеж изделия:
Характеристики изделия:
ПараметрЗначение
длина2100 мм
ширина2100 мм
высота600 мм
масса4775 кг
нормативный документСерия У 01-02/89

ФМ 21 Фундаменты монолитные по Серии У 01-02/89.