НБК-5.5

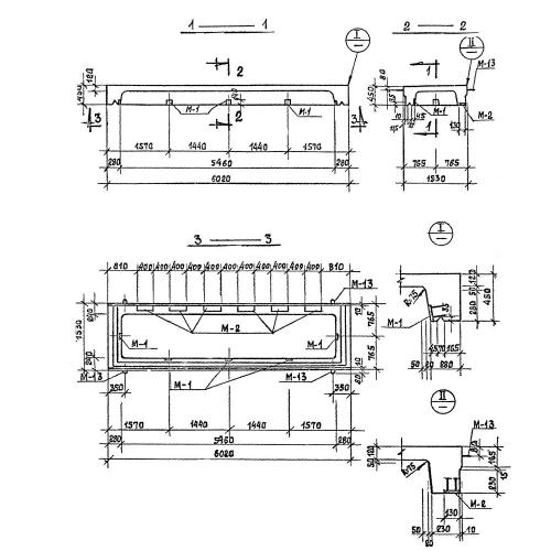
Чертеж изделия:
Характеристики изделия:
ПараметрЗначение
длина6020 мм
ширина1530 мм
высота450 мм
масса6000 кг
нормативный документСерия 3.903 КЛ-13

НБК-5.5 Нижние блоки камер по Серии 3.903 КЛ-13.