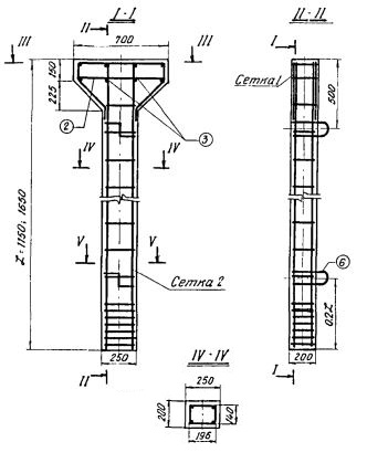
СТУ 11,5
Характеристики изделия:
| Параметр | Значение |
|---|---|
| Длина | 1150 мм |
| Ширина | 700 мм |
| Высота | 250 мм |
| Масса | 203 кг |
| Нормативный документ | Серия 3.820-3 |
Цена:
Рассчитать стоимостьСтойки опор для лотков глубиной 1000 мм по Серии 3.820-3. Предназначены для мелиоративного строительства и могут быть использованы при сооружении сетей орошения, перебросных сооружений и быстротоков с расходом воды до 5 м³/с.
СТУ 11,5 Стойка опоры усиленная высотой 1,15 м под лоток длиной 8 м глубиной наполнения 1000 мм.