К 42-1а

Чертеж изделия:
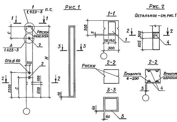
Характеристики изделия:
ПараметрЗначение
Длина5000 мм
Ширина300 мм
Высота300 мм
Масса1100 кг
Нормативный документСерия 3.019.1-1

К 42-1а  Колонна по Серии 3.019.1-1.