2БН6-5

Чертеж изделия:
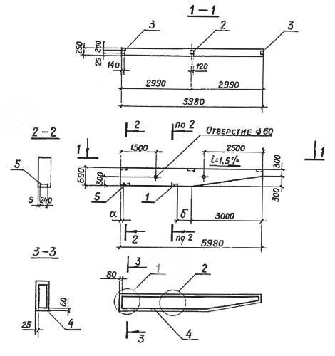
Характеристики изделия:
ПараметрЗначение
Длина5980 мм
Ширина250 мм
Высота690 мм
Масса2100 кг
Нормативный документСерия 3.019.1-1

2БН6-5   Балка навеса по Серии 3.019.1-1.