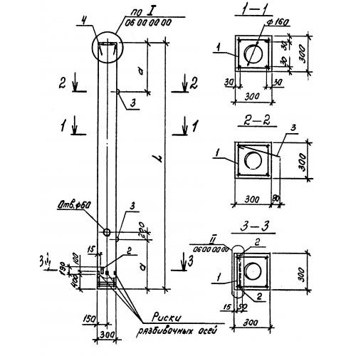
СП 5.5-30

Чертеж изделия:
Характеристики изделия:
ПараметрЗначение
длина5500 мм
ширина300 мм
высота300 мм
масса960 кг
нормативный документСерия 3.016.1-9

СП 5.5-30  Сваи-колонны полые квадратного сечения Серия 3.016.1-9.