ЛК 300.90.45 лотки

Чертеж изделия:
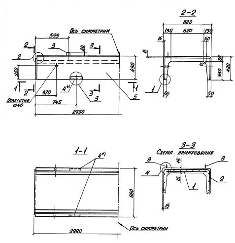
Характеристики изделия:
ПараметрЗначение
длина2990 мм
ширина880 мм
высота430 мм
масса900 кг
нормативный документСерия 3.006.1-8

ЛК 300.90.45  Лотки каналов Серия 3.006.1-8.