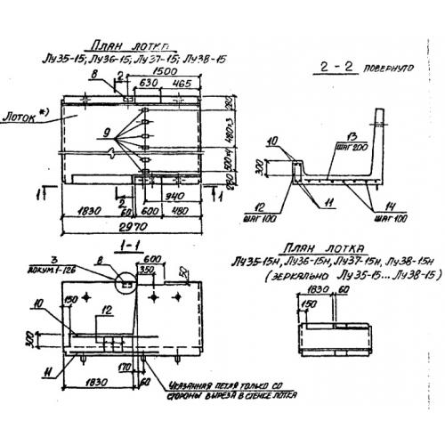
Лу 35/2 лотки угловые

Чертеж изделия:
Характеристики изделия:
ПараметрЗначение
длина2970 мм
ширина4000 мм
высота800 мм
масса7050 кг
нормативный документСерия 3.006.1-2/87

Лу 35/2  Лотки теплотрасс угловые Серия 3.006.1-2/87.