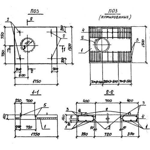
ПО 3
Характеристики изделия:
| Параметр | Значение |
|---|---|
| длина | 1750 мм |
| ширина | 1500 мм |
| высота | 160 мм |
| вес | 900 кг |
| серия | 3.006-2 |
Цена:
Рассчитать стоимостьПО 3 Плиты перекрытия лотков по серии 3.006-2.
| Параметр | Значение |
|---|---|
| длина | 1750 мм |
| ширина | 1500 мм |
| высота | 160 мм |
| вес | 900 кг |
| серия | 3.006-2 |
ПО 3 Плиты перекрытия лотков по серии 3.006-2.
