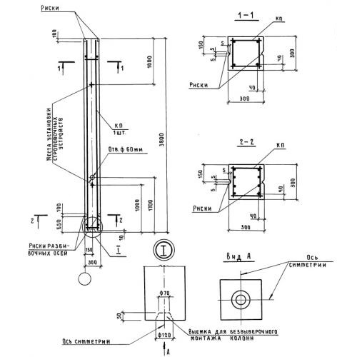
К 30 колонны

Чертеж изделия:
Характеристики изделия:
ПараметрЗначение
длина3800 мм
ширина300 мм
высота300 мм
масса850 кг
нормативный документСерия 1.423-3

К 30  Колонны Серия 1.423-3.