ПК 51.12 Плиты перекрытия железобетонные многопустотные
Характеристики изделия:
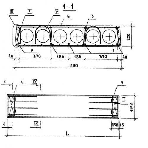
| Параметр | Значение |
|---|---|
| длина | 5080 мм |
| ширина | 1190 мм |
| высота | 220 мм |
| масса | 1800 кг |
| нормативный документ | Серия 1.141-1 |
Цена:
Рассчитать стоимостьПК 51.12 Плиты перекрытия железобетонные многопустотные Серия 1.141-1.
