1ПК 30.6
| Параметр | Значение |
|---|---|
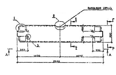
| длина | 2980 мм |
| ширина | 590 мм |
| высота | 220 мм |
| масса | 590 кг |
| нормативный документ | Серия 1.090.1-2с |
1ПК 30.6 Плиты перекрытий многопустотные (Серия 1.090.1-2с).
1ПК 30.6-12,5АIIIт-с
1ПК 30.6-4,5АIIIт-с
1ПК 30.6-6АIIIт-с
1ПК 30.6-8АIIIт-с
Плиты перекрытий многопустотные и ребристые длиной 2980мм, армированные стержнями из стали класса А-III, длиной 5980 мм и 7180 мм, армированные предварительно напрягаемой арматурой из стали класса Ат-V.
ПК -плита многопустотная;
ПР - плита ребристая.
Цифры, стоящие после буквенного индекса, обозначают округленные размеры длины и ширины конструкций в дециметрах. Вторая группа марки характеризует величину расчетной нагрузки в сотнях килограммов на квадратный метр, класс стали напрягаемой арматуры, вид бетона. Цифровой индекс перед маркой панели означает: для многопустотных плит наличие вырезов по продольной грани; для ребристых плит - наличие вырезов по продольной грани панели или расположение поперечных ребер.