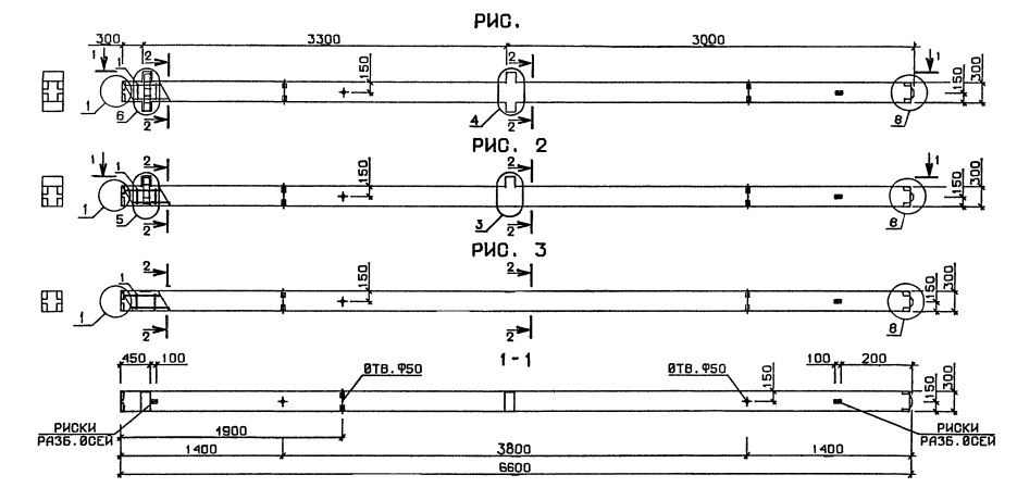
2КО 3.33

Чертеж изделия:
Характеристики изделия:
ПараметрЗначение
длина6600 мм
ширина300 мм
высота450 мм
масса1590 кг
нормативный документСерия 1.020.1-3пв

2КО 3.33  Колонны одноконсольные Серия 1.020.1-3пв.